PE/RAME DRITTO

Articolo: 128

Raccordo di transizione PE/rame con terminale a saldare. Realizzato tramite stampaggio ad iniezione, viene impiegato per il collegamento di materiali differenti (di cui uno sia polietilene) su impianti ditubazioni per il trasporto di gas combustibile. E’ consigliato l’utilizzo anche su impianti acqua e soprattutto acqua potabile per la sua funzione antibatterica.

Informazioni tecniche


Scheda dati
Materiali
  • Tronchetto in rame secondo UNI EN 1057,lega di rame CU-DHP CW024A secondo UNI 5649,
  • Codolo in polietilene alta densità PE100, vergine di colore nero.
Certificazioni
Informazioni tecniche
Annotazioni tecniche
  • Giunzione a passaggio totale isolata dalle infiltrazioni esterne conforme alla UNI 9736,
  • Collaudato a pressione secondo ISO 1167,
  • Dimensionale polietilene secondo UNI EN 1555-3,
Normative
  • UNI EN 1555-3
  • ISO 4437-3
  • UNI EN ISO 15494

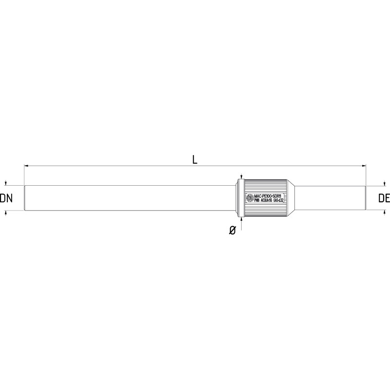
Dimensionali


CodiceDE (mm)DN (mm)Ø (mm)L (mm)Peso (kg)
12800250182518454150.45
12800250222522454150.55
12800320183218514150.50
12800320223222514150.60
12800320283228514150.70
12800400284028634200.50
12800400354035634200.55