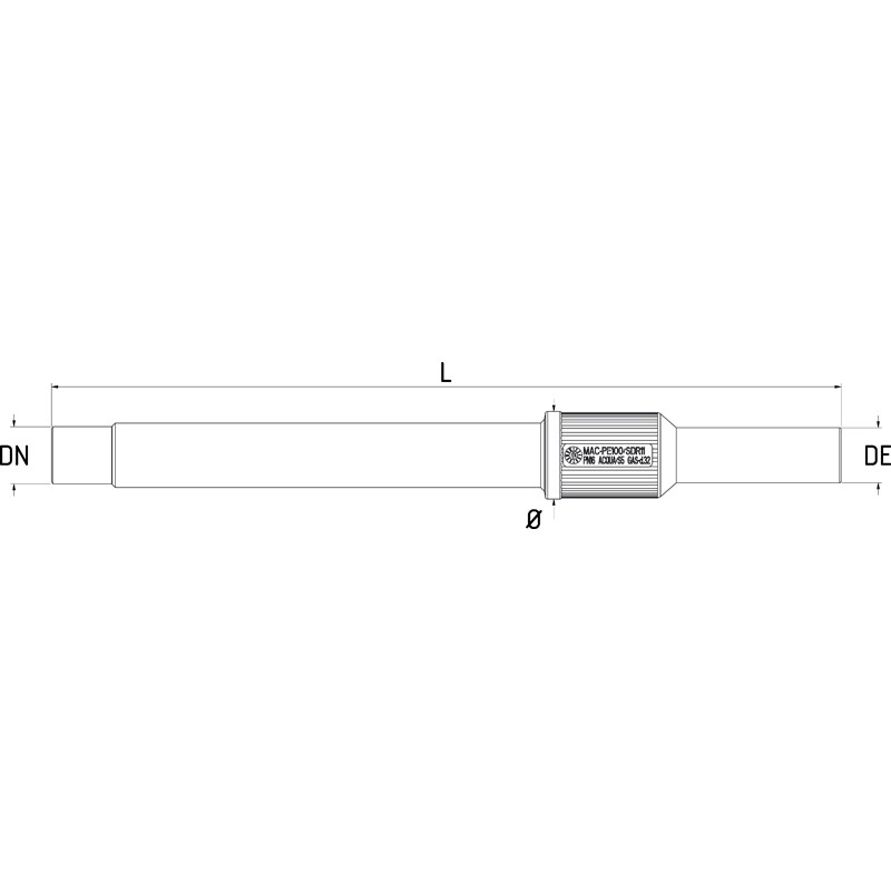
PE/ACCIAIO DRITTO CON TERMINALE LISCIO A SALDARE

Articolo: 003
MOP 10 bar S5 / SDR11

Raccordo di transizione PE/acciaio con terminale a saldare. Realizzato tramite stampaggio ad iniezione, viene impiegato per il collegamento di materiali differenti (di cui uno sia polietilene) su impianti di tubazioni per il trasporto di gas combustibile.

Informazioni tecniche


Scheda dati
Materiali
  • Tronchetto in acciaio al carbonio secondo ISO 3183/API 5L rivestito esternamente triplo strato in LDPE giallo classe R3R secondo DIN30670-ISO21809,
  • Codolo in polietilene alta densità PE100, vergine di colore nero,
  • O-ring in NBR 70 Sh,A certificato gas e acqua potabile (DVGW),
  • Anello esterno di tenuta in acciaio S355J2H verniciato a polvere (sp.200µm).
Certificazioni
  • UNI EN 1555-3 (KIWA KIP-095784)
  • UNI EN ISO 15494 (KIWA KIP-095785)
  • DVGW G5600-1 (DW-7521CR0259)
  • WATERMARK AS/NZS 4129 (WM 74644)
Informazioni tecniche
Annotazioni tecniche
  • Giunzione metallo/PE conforme alla UNI 9736, a passaggio totale e isolata dalle infiltrazioni esterne,
  • Collaudato con prove a pressione secondo ISO 1167 e ulteriore specifica di collaudo MACPLAST,
  • Funge da giunto dielettrico secondo la UNI 7129 in quanto rivestito in triplo strato,
  • Dimensionale polietilene secondo UNI EN1555-3, spessore standard SDR11,
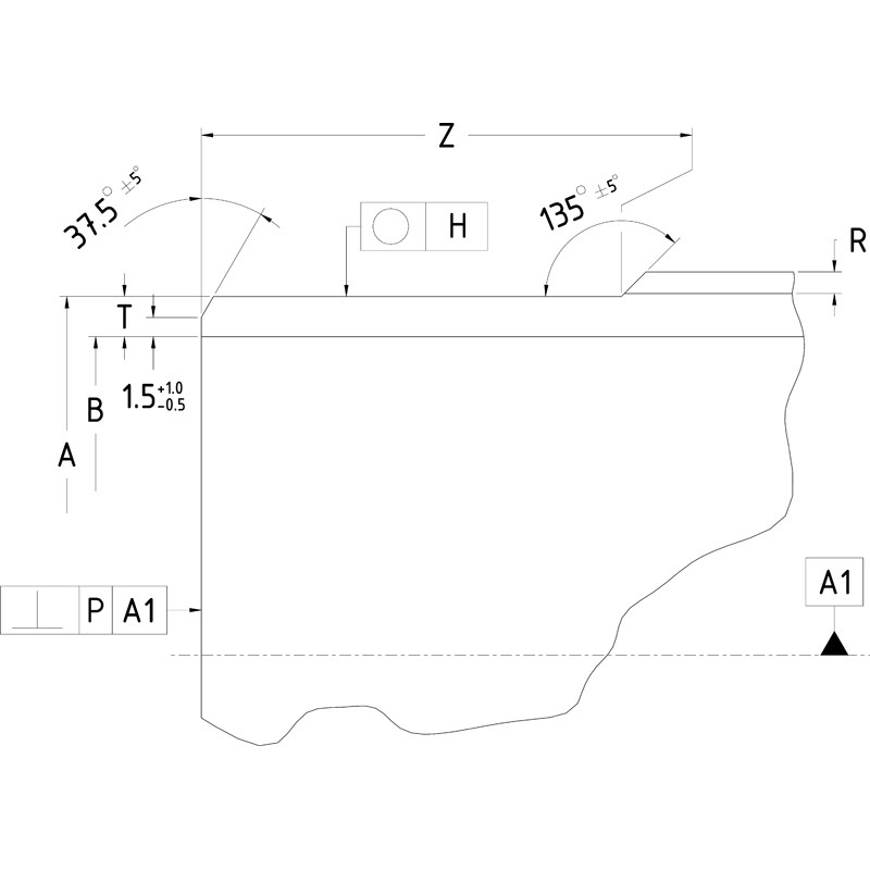
  • Dimensionale metallo secondo ISO 3183, terminale liscio a saldare con smusso 37.5° secondo EN 12627.
Caratteristiche aggiuntive
  • Dotato di o-ring di sicurezza interno.
Altre informazioni
  • Raccordi stampati fino al DE225 x 8″,
  • I grandi diametri sono realizzati tramite assemblaggio meccanico con anello esterno di tenuta,
  • A richiesta codolo in S8 (SDR17) dal DE250x8″.
Normative
  • UNI EN 1555-3
  • ISO 4437-3
  • UNI EN ISO 15494
  • UNI EN 10226-1

Dimensionali


CodiceDE (mm)DN (inch)DN (mm)Ø (mm)L (mm)Peso (kg)
0030020015201/2"15454250.45
0030025020253/4"20454600.65
0030032025321"25504600.95
0030040032401 1/4"32654701.25
0030050040501 1/2"40704801.45
0030063050632"50904802.15
0030075065752 1/2"65955402.95
0030090080903"801155803.95
00301100801103"801505804.80
00301101001104"1001505857.05
00301251001254"1001555857.30
00301401251405"1251655808.00
00301601501606"15021061010.50
00301801501806"15021061011.00
00302002002008"20026063017.50
00302252002258"20026061018.00
00302502002508"20026563022.50
003025025025010"25032564030.50
003028025028010"25032564031.00
003031525031510"25034566038.50
003031530031512"30037072546.50
003035530035512"30037073548.00
003035535035514"35042077060.00
003040035040014"35042072062.00
003040040040016"40047577083.20
003045040045016"40048577083.20
003045045045018"450530870126.50
003045050045020"5005901050125.00
003050050050020"5005901050127.50
003050053050021"5306351020181.50
003056050056020"500590850121.00
003063053063021"5306651020199.50
003063060063024"6007351100242.00